METHOD FOR THE CORRECTION OF MEASURED VALUES OF VOWEL NASALANCE
2677 阅读 2020-02-07 17:08:37 上传
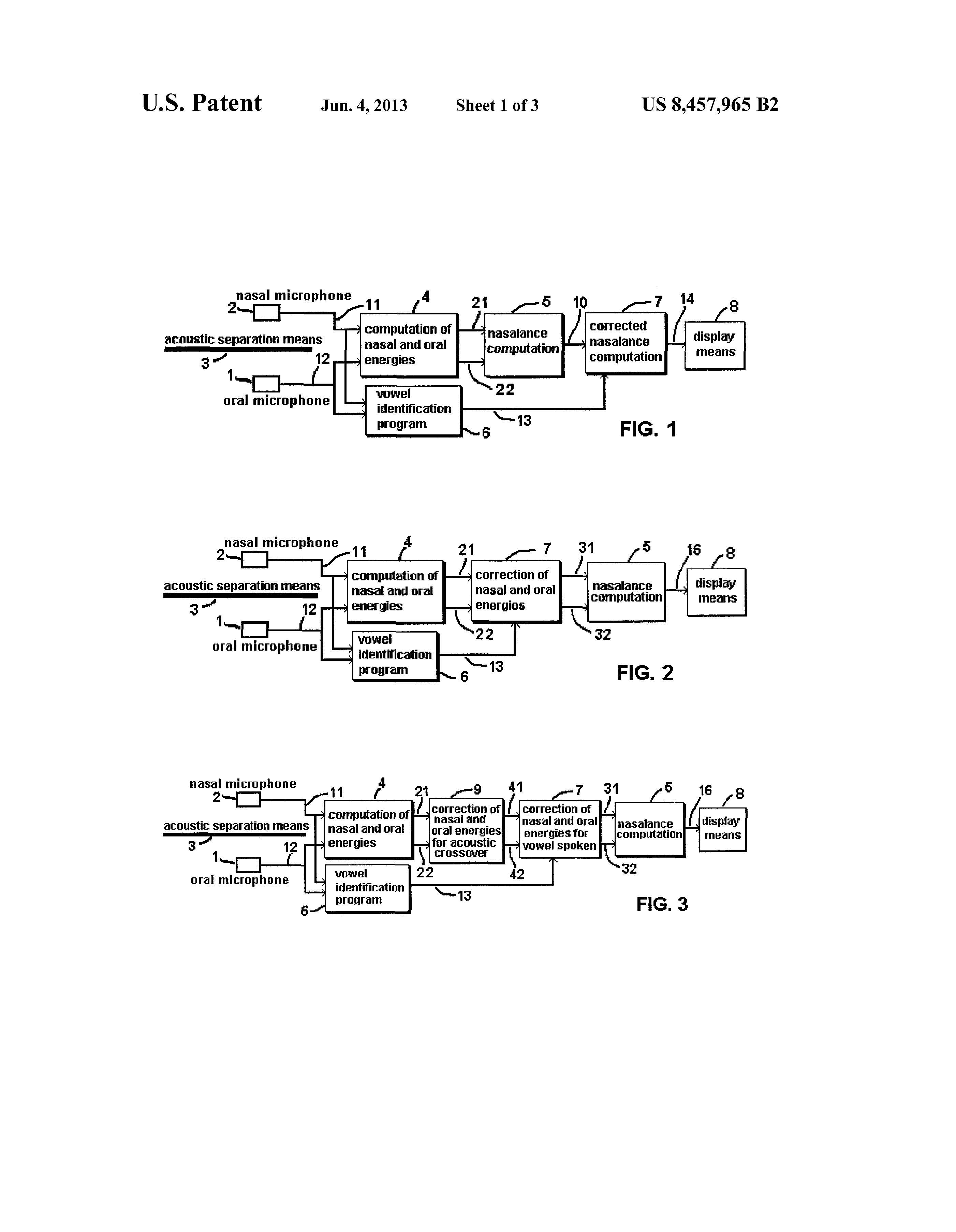
The correction method uses an estimate of the vowel frequency spectrum to greatly reduce the variation of nasalance with the vowel being spoken, so as to result in a corrected value of nasalance that reflects with greater accuracy the degree of velar opening.Correction is also described for reducing the effect on nasalance values of energy from the oral and nasal channels crossing over into the other channel because of imperfect acoustic separation.











涉及工具
点赞
收藏
表情
图片
附件









